国内专业的体育赛事和户外活动SaaS系统
首页
home
产品服务
services
产品介绍
功能介绍
服务支持
套餐价格
解决方案
Solution
体育赛事
户外俱乐部
计时系统
微信小程序
体育赛事
Events
户外俱乐部
club
帮助中心
help
版本升级
新手教程
关于我们
about us
公司简介
公司动态
加入我们
联系我们
首页
产品服务
产品介绍
功能介绍
服务支持
套餐价格
付费升级
体育赛事
户外俱乐部
解决方案
赛事活动
户外俱乐部
计时系统
微信小程序
帮助中心
版本升级
新手教程
用户反馈
关于我们
公司简介
公司动态
加入我们
联系我们
注册协议
空间存储协议
APP下载
首页
活动赛事
【活动订单设置商家备注】关于如何为活动订单设置商家备注
【活动订单设置商家备注】关于如何为活动订单设置商家备注
赛小编
| 2016-04-06 09:45
5672
分享到:
赛小编
发布于 2016-04-06 09:45
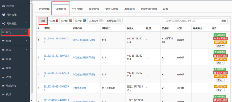
在活动【订单管理】下点击【全部】
,进入
活动订单管理页面。
在【更多】操作中,点击【商家备注】进入添加备注页面。
在【备注】栏中输入要备注的内容,点击【确定】即可发布。
联系我们
客服电话:
0571-86805121
QQ咨询
在线申请
返回顶部